鍛鋼自密封截止閥_鍛鋼截止閥系列_産品展示_遼💁🏼‍♀️甯烟台用裕电器制造股份有限公司
産品展示 當前位置:首頁産品展示—鍛鋼自密封截止閥
鍛鋼自密封截止閥
客戶需求的其他材質也可采用.密封面材料配對…客戶指定内件代号決定
在線咨詢 在線咨詢
産品詳情
鍛鋼自密封截止閥

 

鍛鋼自密封截止閥 900Lb~2500lb

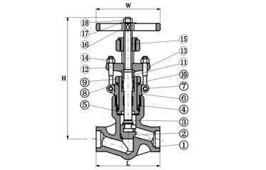
标準材質明細表

序号
零件名稱
CStoASTM
AStoASTM
SStoASTM
A105
A182F22
A182F304
A182F316(L)
1
閥體
A105
A182F22
A182F304(L)
A182F316(L)
2
閥瓣
A276420
A276304
A276304(L)
A276F316(L)
3
閥杆
A182F6
A182F304
A182F304(L)
A182F316(L)
4
密封圈
A182F304L
A182F316L
5
密封螺母
A105
A182F304
A182F304(L)
A182F316L
6
閥蓋
A105
A182F22
A182F304(L)
A182F316(L)
7
銷釘
A276420
A182F304
8
墊圈
A105
A182F22
A182F304(L)
A182F316(L)
9
提升螺母
A1942H
A1944
A1948
A1948M
10
填料
柔性石墨
PTFE
11
填料壓套
A276420
A182F304
12
活節螺栓
A193B7
A193B16
A193B8
A193B8M
13
填料壓闆
A216WCB
A351CF8
14
螺母
A194 2H
A1944
A1948
A1948M
15
閥杆螺母
A276 410
16
手輪
A197
17
鎖緊螺母
A1942H
A1944
A1948
A1948M
18
油嘴
适用介質
水、蒸汽、油品等
水、蒸汽、油品等
硝酸、醋酸等
适用溫度
—29℃~425℃
—29℃~550℃
—29℃~200℃

注意:客戶需求的其他材質也可采用.密封面材料配對客戶指😺定内件代号決定

CS=碳鋼;AS=合金鋼;SS=不鏽鋼;

尺寸(MM)和重量(KG)

NPS
1/2"
3/4"
1"
11/4"
11/2"
2"
L
900Lb-150Lb
140
140
140
178
178
216
2500Lb
186
186
186
232
232
279
H(開)
333
333
333
408
408
524
W
160
160
180
200
250
280
重量
900LB-1500LB
11.2
10.5
10.1
21.0
19.6
40.4
2500LB
12.3
11.6
10.8
28.0
26.4
43.8
上一篇:鍛鋼“Y”型自密封截止閥 下一篇:鍛鋼法蘭端截止閥
Sitemap